Beschreibung
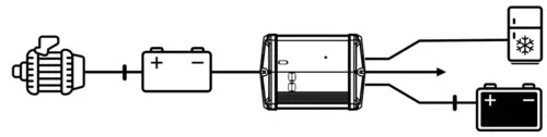
Batterie-Ladebooster mit integriertem 18 A Kühlschrank-Ausgang
Die Batterie-Ladebooster von Carbest mit 25A oder 40A Leistung laden Ihre Bord- oder Zweitbatterie zügig und zuverlässig während der Fahrt. Die IUoU-Ladekennlinie versorgt die Batterie mit konstantem Strom und darauf abgestimmter Spannung. Nach Erreichen der Ladeendspannung erfolgt die Umstellung auf Erhaltungsladung. Dabei wird die Selbstentladung der Batterie ausgeglichen. Über den speziellen, integrierten 18A Kühlschrankausgang kann ein Absorber- oder Kompressor-Kühlschrank direkt vom Ladebooster aus mit Strom versorgt werden. Integrierter Unterspannungs- und Überspannungsschutz sowie Verpolungsschutz
Weitere Spezifikationen:
- Betriebstemperaturbereich: +10°C bis +50°C
- geeignet für Blei-Säure / AGM / GEL / LiFePO4 Batterien
- Lieferumfang: 1 Ladebooster, 1 Eingangs-/Ausgangsanschluss, 1 D+ Signalanschluss, 1 Handbuch
Ladeleistung Lichtmaschine: 25 A / 40 A
Eingangsspannung : 12 V
Ausgangsspannung: 12 V
Länge: 200 mm
Breite: 142 mm
Höhe: 72.5 mm
Gewicht: 1.1 kg






Bewertungen
Es gibt noch keine Bewertungen.